Motorola was one of the first companies to launch a foldable smartphone, but we haven’t heard anything in the nearly 1.5 years since the Moto Razr and its 5G variant came to be.
The company has now been granted a patent by WIPO (World Intellectual Property Organisation) for another foldable phone – tall and narrow, like the Razr, but the screen is on the outside and the foldable display wraps around it and creates a dual-screen device when folded.

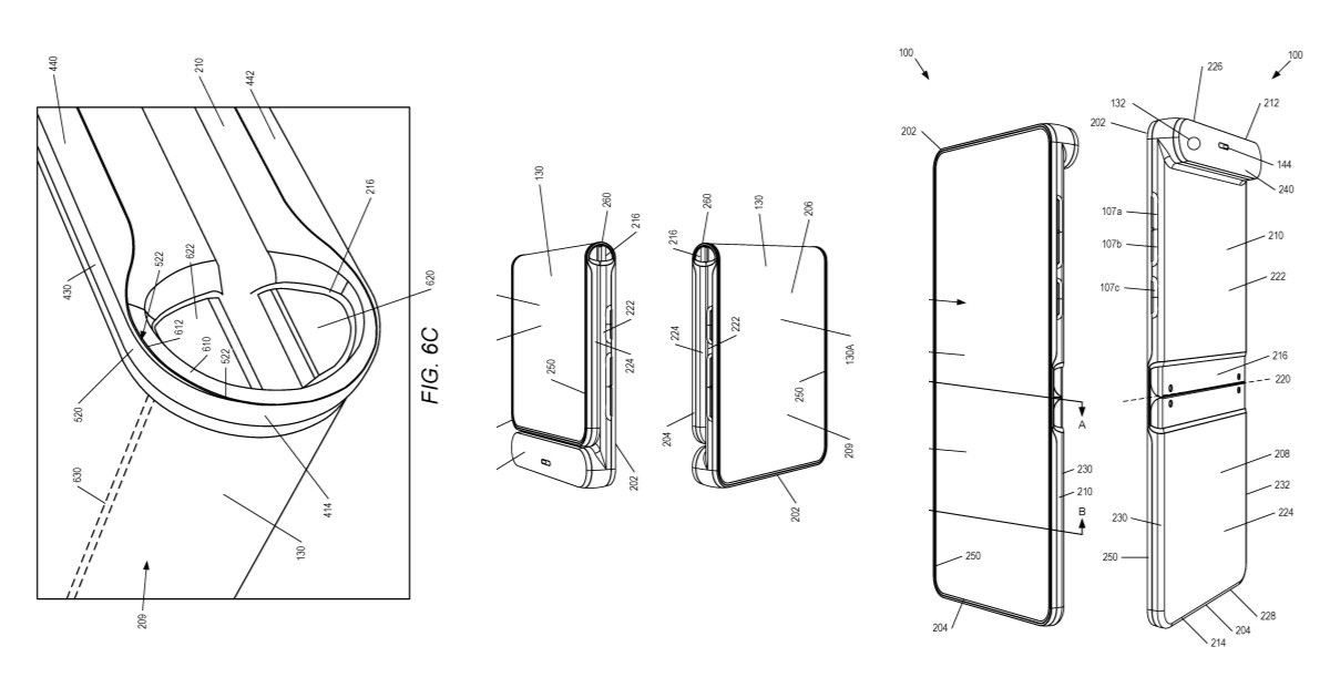
The patent reveals a small island is left on top of the phone for the camera setup, meaning the bottom part of the screen will be shorter. An easy way to imagine the new patented device is a crossover of the Moto Razr and Royole Flexpai.
The actual hinge will be an entirely new solution that should minimize crease and allow the phone to fold flush without any gaps. There would be moving parts within the actual mechanism to allow the panel to bend freely if the device makes it to the market.
We say “if” and not “when” because companies often patent designs that do not make it to commercial devices. However, this isn’t some obscure idea – this design has some obvious advantages and should strong protective glass for foldable panels finally arrive we have little doubt Motorola will deliver it to the market.




